| (二)医学常用统计图及绘制法 | 《预防医学》 |
(二)医学常用统计图及绘制法1.线图(line diagram) (1)适用于连续变量资料。说明某事物因时间、条件推移而变迁的趋势。 (2)横轴常用以表示某事物的连续变量,纵轴多表示率、频率或均数。 (3)纵轴采用算术尺度,从零开始。如果图形的最低点与零点差距很大,则可在纵轴基部作折断口,使线段降低以求美观。横轴可以不从零开始,如果以组段为单位,则每组均以组段下限为起点。但绘图的坐标点则应以组段中点为宜。 (4)同一图内不宜有太多曲线,以免混淆不清。如有几条线作对比,则用不同线形来区别,并有图例说明。 例17-5 根据成都学龄前儿童生长发育的3年追踪调查,身高的年增长值按性别分组统计比较如表17-5和图17-1。因为身高发育是连续性变量资料,用曲线图来表示是适宜的。该图很微妙地反映出儿童少年生长发育期的规律:女孩身高从8岁起增长很快,10岁左右达到突增高峰。男孩则在10岁起才迅速增长,13岁左右达突增高峰。这和生理上女孩青春期了育比男防早一些,是十分吻合的。 表17-5 1979~1982年成都学龄前儿童身高年增长值(cm)
资料来源:张兴儒等 中华预防医学杂志21(6):338,1987年
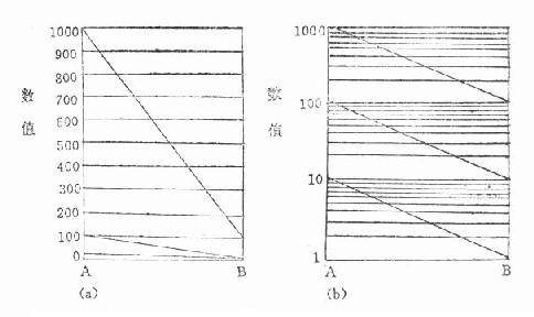
图17-1 成都市男女学生平均身高年增长值曲线 另外不有一种线图叫半对数线图(semilogline diagram),纵轴用对数尺度,横轴仍用算术尺度。这种图常用于比较两组相对数的比值相差较大的动态数列。原因是同样的增长速度在对数尺度上的距离是相等的。例如表17-6中的三组数据,由时间A到B分别绘在算术格纸(图17-2a)和半对数格纸(17-2b)上,呈现两种不同的结果。a图三条直线坡度相差悬殊,这是三组数据的绝对差相差悬殊之故;b图则因三组数据的对数差相等,下降坡度亦一样。
图17-2 三组数据绘在算术(a)和半对数(b)格纸上的线图比较 表17-6 绝对差与对数差的比较
下例进一步说明半对数线图应用的实际意义。 例17-6 美国疾病控制中心(CDC)报道,自从应用白喉类毒素作为儿童常规免疫接种后,白喉发病率和死亡率明显下降,但病死率仍停留在一定水平上。三者动态变化表达如图17-3。
图17-3 应用类毒素免疫接种后的白喉发病率、死亡率和病死率的动态变化比较(1920~1975年) (资料来源:CDCNo.12,1978,Atlanta,Ca,USA) 该图很形象地表明在55年内白喉发病率和死亡率下降速度基本一致。但两组数据的前后绝对差却很悬殊,如果用算术格纸来描绘,直观上将产生发病率下降坡度明显大于死亡率下降的错觉。图中还反映了白喉病死率自1920~1970年间变化不明显,与白喉死亡率不同;这里存在两个率的含义不同的原故,本教材的第二十四章将予阐明。 2.直方图(histogram) (1)直方图是以面积表示数量,适用于表达连续性资料的频数或频率分布。 (2)横轴表示变量,尺度可以不从零开始。同一轴上的尺度必须相等。 (3)作图时各直条的宽度应等于组距,高度应等于该组的频数或频率。组距相等的分组资料才能作图,否则应先换算成相等组距。以下是120例T3比值频数表作图(图17-4)。
图17-4 120例正常血浆结合125I-Ts树脂摄取比值分布 将各组直方的顶端中点相连,即成多边图,也可用来表示连续性资料的频数颁布情况。 3.直条图(bar chart) (1)直条图是用等宽直条的和长短来表示各统计量的大小,适用于彼此独立的资料互相比较,有单式和复式两种。 (2)作图时,一般是以横轴为直条图的基线,纵轴表示频数或频度,从零开始;直条间的距离一般以条宽的1/2为宜。排列顺序若非自然顺序资料,则按由高到低的次序排列,便于比较。 (3)复式直条图的制图要求与单式相同,但每组的直条最好不要过多,同组直条间不留空隙,组内各直条排列次序要前后一致。 例17-7 上海县统计了1960~1962年和1978~1980年两段时期的居民前10位死亡原因。现将其中可配比的9对资料绘成直条图(图17-5)比较如下。
图17-5 上海县居民在1960~1962年与1978~1980年间死亡原因变化的比较 资料来源:GuXingyuan et al ,AJPH72(Sup.)p.22,1982 该图给人的鲜明印象是原居首位的传染病死亡率与第6位的恶性肿瘤死亡率互易位;同时脑血管病和心脏病分别进到第2位和第3位。 4.百分条图(percentchart) 用以表达构成比的图形,绘制简便,而且可将多条并列作比较,以阐明疾病的动态变化。 例17-8 某矿采用湿式作业,粉尘浓度明显下降。若干年后,新发矽肺减少,历年存活矽肺患者的期别也随之发生变化。作者根据表17-7统计资料绘制百分条图比较如图17-6。 5.圆形图(circulargraph) 用途同百分条图,是以圆的半径将圆面分割成多个大小不等扇形来表达构成比。作图法是先将各个百分比乘以3.60,获得圆心角度数,按其大小排列从0时开始,且量角器顺时针方向划分为一系列扇形。图17-7是某厂某年工伤分析百分比图。 表17-7 某矿1961~1965年矽肺患者期别构成比
图17-6 某矿1961~1965年各期存活矽肺构成比的动态
图17-7 某年某厂工伤病例百分比 6.点图(scatterdiagram) 表示两种事物变量的相关性和趋势。医学上常用于观察两种生理指标之间的动态变化关系,或临床上两项检测结果之间的量变关系。点图绘测方法是先绘出适学的坐标,一般以两轴正交点为0点,但也可按两变量的全距中最小值起点加以高速调整。x变量定在横轴,y变量定在纵轴;然后将每受检者测得两变量值,找出P(x,y)所在的方位,并绘出各自的坐标点。最后根据点的颁布情况进行分析。 例17-9 某中学测得最高年级100名男生身高、体重的结果,绘成点图如图17-8。 7.疾病状况动态结构图 是有目的地观察几种主要病伤类别构成的动态,从而评价卫生工作效果,指导以后工作的规划和策略。图17-9是美国1900~1973年间11种主要传染病历年占总死亡率百分比的动态;从1900年占40%到1970年仅6%;相应的中风、肿瘤和心脏病在该期间从20%上升到59%;意外事故死亡所占比重则变化不大。 以上只介绍几种常用统计图、表范例和绘制通则,读者可根据资料内容和需要灵活运用和发展。
图17-8 某年某校100名男生身高体重相关图
图17-9 1900~1973年间美国传染病和慢性疾病死亡率构成动态变化
| |||||||||||||||||||||||||||||||||||||||||||||||||||||||||||||||||||||||||||||||||||||||||||||||||||||||||||||||||||||||||||||||||||||||||||||||||||||||||||||||||
返回目录 |